新聞中心
更新時間:2019-03-05
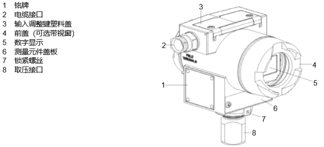
點擊次數:597 西門子壓力變送器SITRANS P DS III系列外殼為壓鑄鋁合金或精細鑄造的不銹鋼材質。正面和背面各有一個表面無開孔的圓形表蓋。
西門子壓力變送器正面的表蓋(4,圖 3)可以選用帶有玻璃視窗,用于直接讀出數字表頭上顯示的測量值。 電纜接口(2,圖 3)位于變送器的接線側,即可以在左側也可以在右側。不用的一側配有密封蓋。
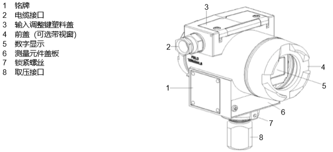
(見 5,圖 4),PE 導線接線端子(2,圖 4)裝在表殼的正面。西門子壓力變送器 打開后蓋(1,圖 4)可看到電氣接線盒,用于電源和屏蔽接線。表殼的下部是測量元件和取壓接 口(8,圖 3)由一個鎖緊螺絲(7,圖 3)鎖緊。
西門子壓力變送器模塊化設計的 SITRANSP DS III 系列允許測量元 件和電子單元根據需要更換。 表殼的上面你可以看到一個塑料保護蓋(3,圖 3)可以打開。輸入調整鍵位于塑料蓋下面。

圖 3 西門子壓力變送器7MF4 33 系列 SITRANS P - DS III 壓力/差壓變送器之傳感器,壓力系列前視圖

圖 4 西門子壓力變送器7MF4 33 系列 SITRANS P - DS III 壓力/差壓變送器,壓力系列后視圖